DDB6U104N16RR
DDB6U104N16RR
INFINEON
IGBT Modules
In Stock: 60380 pcs
z Infineon to silny moduł mocy wykonany do ciężkiego użytku.Łączy most diodowy i helikopter IGBT w jednym kompaktowym pakiecie, zapewniając stabilną i wydajną wydajność.Przy ocenach 1600 V i 105 A działa dobrze w wymagających systemach, takich jak dyski silnikowe, UPS i falowniki energii odnawialnej.W tym artykule wyjaśniono jego funkcje, specyfikacje, zalety, problemy, aplikacje i alternatywy, które pomogą ci zrozumieć jego wartość w elektronice energetycznej.
Katalog
.
DDB6U104N16RR
DDB6U104N16RR
INFINEON
IGBT Modules
In Stock: 60380 pcs
Z Infineon to wysokowydajny moduł mocy zaprojektowany do wymagających zastosowań przemysłowych.Zbudowany w niezawodnej serii obudowy DDB6, łączy most diodowy z IGBT, umożliwiając wydajną konwersję mocy i ochronę w obwodach wysokiego napięcia.Z napięciem blokującym do 1600 V i prądem 105 A, moduł ten zapewnia stabilne działanie nawet pod ciężkimi obciążeniami elektrycznymi.Jego konstrukcja do montażu przykręconego zapewnia bezpieczną instalację i doskonałe zarządzanie termicznie, dzięki czemu nadaje się do solidnego i długoterminowego użytku.
Zaprojektowany do wydajności, DDB6U104N16RR jest szeroko stosowany w napędach silnikowych, systemach UPS, przetwornikach częstotliwości i obwodach hopperów hamujących, w których wymagana jest wydajność i niezawodność.Jego niskie straty przewodzenia, silna izolacja i kompaktowa forma pozwalają projektować potężne systemy bez uszczerbku dla przestrzeni lub trwałości.
Jeśli jesteś zainteresowany zakupem DDB6U104N16RR, skontaktuj się z nami w sprawie cen i dostępności.
• • Wysokie oceny - Obsługuje do 1600 V i 105 A, zbudowany do ciężkiego użytku.
• • Most diody IGBT + - Łączy prostownik i przełączanie w jednym module.
• • Szeroki zakres temperatur - Działa bezpiecznie od –40 ° C do 150 ° C.
• • Niskie straty - Niski spadek napięcia do przodu i niskie napięcie nasycenia dla lepszej wydajności.
• • Silna izolacja - wytrzymuje do 2,5 kV między częściami aktywnymi a płytą podstawową.
• • Dobre chłodzenie - Niski opór termiczny dla skutecznego rozpraszania ciepła.
• • Trwałe kompilacja - ceramiczny podłoże i izolowana płyta podstawowa przez długi okres życia.
• • Kompaktowa konstrukcja - Łatwa instalacja do montażu śrubowego do bezpiecznego i stabilnego użycia.
Parametr
(Niemiecki / angielski)
|
Test
Warunki
|
Min
|
Typ
|
Max
|
Jednostka
|
IGBT
|
|
|
|
|
|
Kolekcjoner -emiter
Napięcie nasycenia (KollekTor - emiter sättigungsspannung) vCesat
|
TVJ = 25 ° C, iC = 50a,
VGe = 15 V T.VJ = 125 ° C, iC = 50a, vGe = 15 V.
|
2.10 2.50
|
- -
|
2.8
|
V
|
Brama - emiter
Napięcie progowe (brama-emitter-schwellspannung) vGE (to)
|
TVJ = 25 ° C, iC = 2mA,
VCe = VGe
|
4.5
|
5.5
|
6.5
|
V
|
Pojemność wejściowa
(Eingangskapazität) CIES
|
TVJ = 25 ° C, F = 1 MHz,
VCe = 25 V, vGe = 0v
|
- -
|
3.3
|
- -
|
nf
|
Kolekcjoner -emiter
Prąd odcięcia (Kollektor-Emiter Reststrom) iCes
|
TVJ = 25 ° C, vCe =
1200V, vGe = 0 V T.VJ = 125 ° C, vCe = 1200 V, vGe = 0v
|
0,8 4,0
|
- -
|
1
|
mama
|
Prąd wycieku bramy
(Reststrom Gate-Emiter) iGes
|
TVJ = 25 ° C, vCe = 0 V,
VGe = 20 V.
|
- -
|
- -
|
500
|
na
|
Wyciek emiter -gate
Prąd (odpoczynek emitera -gate) iEC
|
TVJ = 25 ° C, vCe = 0 V,
VGe = 20 V.
|
- -
|
- -
|
20
|
na
|
Szybka dioda (Schnelle
Dioda)
|
|
|
|
|
|
Napięcie do przodu
(Durchlassspannung) vF
|
TVJ = 25 ° C, iF = 25a
TVJ = 125 ° C, iF = 25a
|
1,7 1.6
|
- -
|
2.2
|
V
|
Odzyskany opłata
(Sperverzögerungsladung) qRR
|
IFm = 25a, di/dt =
800a/µs, vR = 600 V T.VJ = 25 ° C tVJ = 125 ° C.
|
2.3 6.0
|
- -
|
- -
|
µas
|

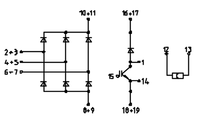
Schemat obwodu wewnętrznego
DDB6U104N16RR
DDB6U104N16RR
INFINEON
IGBT Modules
In Stock: 60380 pcs
pokazuje zintegrowany prostownik modułu, tyrystor i elementy wykrywające.Po lewej stronie sześć diod jest połączonych w trójfazowej konfiguracji mostu.Terminale oznaczone 2+3, 4+5 i 6+7 służą jako fazy wejściowe prądu przemiennego, podczas gdy 8+9 i 10+11 zapewniają ujemne i dodatnie wyjścia DC.Układ ten zapewnia skuteczną konwersję trójfazowej mocy prądu przemiennego w prąd stałego.
W środkowej części schemat ilustruje obwód tyrystorowy z diodą swobodną.Terminal 1 jest anodą, 14 katodą i 15 bramą do wyzwalania tyrystora.Terminale 16+17 i 18+19 łączą diodę równolegle, umożliwiając kontrolowane przełączanie i ochronę podczas pracy.
Po prawej, mały symbol między 12 a 13 reprezentuje termistor NTC używany do monitorowania temperatury.Ten komponent pozwala systemowi wyczuć stan termiczny modułu, zapewniając bezpieczne działanie i ochronę przed przegrzaniem.

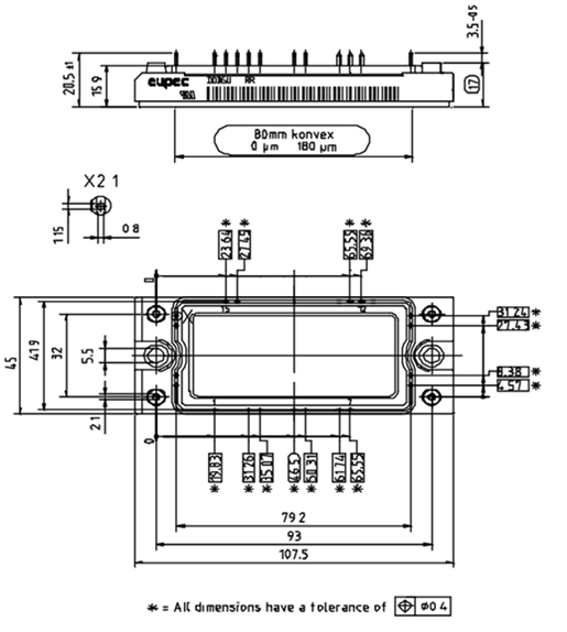
Wymiary pakowania
DDB6U104N16RR
DDB6U104N16RR
INFINEON
IGBT Modules
In Stock: 60380 pcs
definiują jego kompaktową prostokątną strukturę o długości około 107,5 mm, szerokość 45,9 mm i wysokość 20,5 mm, zapewniając łatwą integrację z systemami zasilania.Rysunek szczegółowo opisuje układ terminala z precyzyjną numerem dla prostych połączeń, podczas gdy znormalizowane odstępy obsługują kompatybilność z PCB i szynami.Otwory montażowe są ustawiane w celu bezpiecznego przymykania, a płaska podstawa z wypukłą tolerancją zapewnia wydajny kontakt termiczny po przymocowaniu do podatkowania.
DDB6U104N16RR
DDB6U104N16RR
INFINEON
IGBT Modules
In Stock: 60380 pcs
Zalety:
• Łączy most diodowy i choppera IGBT w jednym module.
• Może obsłużyć wysokie napięcie (1600 V) i wysoki prąd (105 A).
• Dobre rozpraszanie ciepła dla niezawodnej wydajności.
• Silna i kompaktowa konstrukcja z izolowaną płytą podstawową.
• Działa dobrze w trudnych środowiskach o szerokim zakresie temperatur.
DDB6U104N16RR Wady:
• Jeśli jedna część się nie powiedzie, cały moduł należy wymienić.
• Wydajność spadnie w bardzo wysokich temperaturach.
• Droższe niż stosowanie pojedynczych komponentów w małych projektach.
• Większy rozmiar w porównaniu z częściami dyskretnymi.
• Nie najlepszy wybór do przełączania o bardzo wysokiej częstotliwości.
Przegrzanie - Moduł może stać się zbyt gorący, jeśli chłodzenie jest słabe.Napraw to za pomocą większego ciepła, dobrego przepływu powietrza i odpowiedniego montażu.
Utrata wydajności - W czasie lub w wysokiej temperaturze spadek napięcia wzrasta, a wydajność spada.Unikaj tego, pozostając w bezpiecznych granicach i zastępując moduł w razie potrzeby.
Uszkodzenie zwarciowe - Spiroty mocy lub przeciążenia mogą powodować awarię.Użyj bezpieczników, łamów lub obwodów śrubowych, aby chronić moduł.
Problemy z bramą - Niewłaściwe sygnały bramkowe lub szum mogą powodować nieprawidłowe działanie.Sprawdź napięcie bramki, użyj odpowiedniego rezystorów i w razie potrzeby dodaj osłonę.
Problemy z izolacją - wilgoć lub brud może łamać izolację.Utrzymuj moduł w czystości, suchym i odpowiednio zamknięty, aby zapobiec wyciekom.
Falowniki energii odnawialnej - Przekształcanie prądu stałego z paneli słonecznych lub turbin wiatrowych w klimatyzację w celu użycia siatki lub lokalnego.
Obwody miękkie - Zarządzanie momentem rozruchu motorowym i ograniczeniem prądów odbierających.
Przemysłowe dyski silnikowe i dyski o zmiennej częstotliwości (VFD) - Kontrolowanie prędkości i momentu obrotowego w pompach, sprężarkach, wentylatory.
UPS (zasilacze nieprzerwane) - W ramach etapów rektyfikacji i konwersji mocy.
Zasilacze w trybie przełączników (SMP) I Systemy konwersji mocy - Stagi DC/AC lub AC/DC o dużej mocy.
Systemy trakcji i transportu kolejowego - Kontrolowanie energii w pociągach elektrycznych lub tramwaje.
Stacje ładowania pojazdów elektrycznych i powiązane elektronika zasilania - Konwersja i obsługa wysokich napięć i prądów.
Maszyny spawalnicze i systemy plazmowe - Do obwodów spawania falownika jazdy.
Systemy HVAC - Kontrola silnika w sprężarkach, dmuchawach i pompach.
Systemy transmisji i dystrybucji mocy - Zwłaszcza w konwerterach, choppiach lub obwodach ochronnych.
Infineon Technologies
(Poprzez dziedzictwo EUPEC) jest producent modułu
DDB6U104N16RR
DDB6U104N16RR
INFINEON
IGBT Modules
In Stock: 60380 pcs
.Początkowo linia projektowa i produktów pochodziła od EUPEC GMBH, niemieckiej firmy specjalizującej się w półprzewodnikach władzy, która została nabyta i zintegrowana z działem elektroniki energetycznej Infineon w 1999 r.. Infineon obsługuje globalny marketing, kwalifikacje i wsparcie, wydają raport dotyczący kwalifikacji produktu (PQR) dla DDB6U104NRRR, wykazując zgodność z branżą i niezawodnością.Moduł jest częścią rodziny infineon econobridge ™ modułów mostów mostowych z opcjami rozcięcia hamulca i opcjami NTC, ze specyfikacjami takimi jak ocena napięcia 1600 v, 104 prąd nominalny i do 550 możliwości surge.
DDB6U50N16W1rp
DDB6U84N16RR
DDB6U84N16RR
INFINEON
IGBT Modules
In Stock: 36400 pcs
Parametr
|
DDB6U104N16RR
DDB6U104N16RR
INFINEON
IGBT Modules
In Stock: 60380 pcs
|
DDB6U84N16RR
DDB6U84N16RR
INFINEON
IGBT Modules
In Stock: 36400 pcs
|
Producent
|
Infineon (EUPEC
dziedzictwo)
|
Infineon (EUPEC
dziedzictwo)
|
Rodzina modułów
|
Econobridge ™ DDB6
|
Econobridge ™ DDB6
|
Napięcie odwrotne
(VRRM)
|
1600 v
|
1600 v
|
Nominalny prąd
|
105 a
|
85 a
|
Prąd podstępny (tjFSMW
10 ms)
|
650 A (25 ° C), 550 A
(150 ° C)
|
Nie określone (niższe
niż 104n16rr)
|
Napięcie do przodu
(dioda)
|
~ 1,10 V @ 100 A, 150
° C.
|
~ 1,55 V (nominalne)
|
IGBT vCE (sat)
|
~ 2,1 V @ 50 a
|
Podobne (arkusz danych
zależny)
|
Próg bramy
Napięcie (vGe (th))
|
4,5 - 6,5 V
|
4,5 - 6,5 V
|
Brama prądu wyzwalacza
(IGt)
|
~ 5 Ma
|
~ 5 Ma
|
Ładunek bramy (QG)
|
~ 0,38 µc
|
Nie określono
|
Opór termiczny
(Rthjc)
|
IGBT ~ 0,66 k/w, dioda
~ 0,72 k/w
|
Nieco wyżej
(Niższe obchodzenie się z prądem)
|
Temperatura robocza
|
–40 ° C do +150 ° C
|
–40 ° C do +150 ° C
|
Napięcie izolacji
|
2,5 kV (50 Hz, 1 min)
|
2,5 kV (50 Hz, 1 min)
|
Styl montażowy
|
Mocowanie śrubowe (M5, 4 nm
moment obrotowy)
|
Mocowanie śrubowe (M5, 4 nm
moment obrotowy)
|
Odległość pełzania
|
~ 12,5 mm
|
~ 12,5 mm
|
Waga modułu
|
~ 185 g
|
~ 185 g
|
DDB6U104N16RR
DDB6U104N16RR
INFINEON
IGBT Modules
In Stock: 60380 pcs
jest najlepszym wyborem dla branż, które wymagają dużej mocy i długotrwałej wydajności.Jego konstrukcja ułatwia konwersję mocy, podczas gdy jego trwałość pozwala na radzenie sobie z trudnymi warunkami.Chociaż może być bardziej kosztowne i trudniejsze do zastąpienia, jego korzyści związane z wydajnością i niezawodnością sprawiają, że warto używać w dowolnych aplikacjach.
Arkusz danych pdf
DDB6U104N16RR Arkusze danych:
DDB6U104N16RR Szczegóły pdfDDB6U104N16RR Szczegóły PDF dla Fr.pdfDDB6U104N16RR Szczegóły pdf dla kr.pdfDDB6U104N16RR Szczegóły pdf dla IT.PDFDDB6U104N16RR Szczegóły pdf dla es.pdfDDB6U104N16RR Szczegóły PDF dla DE.PDF
Udostępnij ten post